
文丨手游那点事丨winjoo
我在半个小时内见到了二十多年以来最离谱的人民币数值增长。
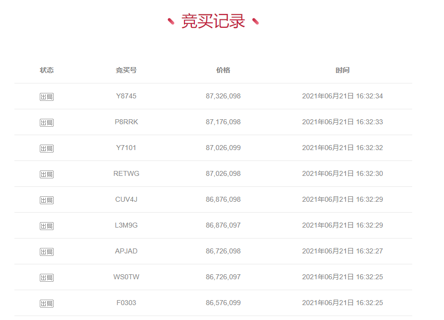
疯涨的就是那张在月初被游戏圈人津津乐道过几天的纯金青眼白龙《游戏王》卡片,本身归一位同时拥有纯金镶钻BRIKKPS4手柄、限量版PS4 Pro等高级游戏装备的“贪腐游戏宅”所有,在他被抄家入狱后的今天,阿里司法拍卖网站上,我和近180万人见证了18000名参与竞拍的勇士,用2105次出价,将这张纯金青眼白龙卡从80块起拍价,生生拉到了87,326,098元整,最终以被法院紧急终止竞拍结束的全过程。

这一过程堪称2021年第一魔幻经历,在下午4点10分的时候,这张卡片开拍10分钟的价格就超过了150万元,而这个数字在3分钟后迅速被翻了一倍多,达到了350万元。再5分钟过去之后,拍卖价格已经接近了千万,突破了我的认知。

在之前的谈资中,大家还在讨论这套全球限量500套,初始售价216000日元的2018年《游戏王》卡牌二十周年庆典纪念版的纯金青眼白龙到底能值【几十万】,我也见过游戏饰品皮肤,也就是一串代码卖出百万高价的,但万万没想到这张编号152的青眼白龙卡片能在18分钟里涨到八位数,超乎了所有人的想象。

要知道,整套发售的卡牌里,编号001的卡牌才估价120万,回头看的话,这个售价在152号开拍10分钟就已经被轻松超越了。
上了千万以后,竞拍的人似乎都欢脱了,16:17到16:30短短的13分钟里,是竞拍价格上涨最夸张的时段,在这13分钟里,编号152青眼白龙的竞拍价格让我每刷新一次页面,都受到极大震撼,从3000万,到5000万,到7000万,最终定格在87,326,098的天文数字。

就算是一张纯金卡片,32分钟涨价到8700万,大概也能让比特币望尘莫及吧。无怪乎处置单位安徽省滁州市中级人民法院匆匆关闭了本来要持续24小时的拍卖,如果任由价格疯涨下去,一个小时内破亿也不是没有可能的。
究其原因,法院对卡片价值的错误估计,又仅设置了100元拍卖保证金,悔拍成本过低,导致牛鬼蛇神都想要进来捡个漏,或者单纯凑个热闹,最终在18104名的参与者手中走向难以收场。

法院可能不了解物品的真实价值,然而关于悔拍和哄抬拍卖价格,现有规定早就明文警告了各位,恶意抬价,扰乱司法拍卖秩序的买受人,会受到罚款、拘留,甚至被追究刑事责任的惩罚。

但终究这场拍卖在小鬼的手里被玩到了远超物品本身价值的金额之后,已经变成了数字游戏,变成了百万网友的娱乐狂欢,流拍或者悔拍几乎是注定的——不会真的有人掏出来8700万买下这张卡片吧??
如果有的话,难道是……海马濑人?毕竟在《游戏王》的世界观里,一个卡组只能有三张相同卡片,集齐了三张青眼白龙,并撕毁了第四张的海马濑人,势必是要出手毁灭每一张现世的青眼白龙的!


海马的梗只是这次关于拍卖的娱乐狂欢启发的众多网梗之一,凭借着离谱的竞拍价,#青眼白龙拍卖#也迅速破圈成为了全网谈资,微博热度飙升,在晚7点左右登上了热搜第5,大多数《游戏王》粉丝对这样的破圈是始料未及的。

在拍卖结束后,B站一位参与了拍卖和抬价的UP主,就发动态表述了当时的心情:“以为大家是来捡漏的,没想到都是来找乐子的!”,然后连呼“吓死我了”。

如果真的法院追究起责任来,岂不是18000人都在抢一双银手镯,几年免费单间和伙食?

万一在狱中跟“贪腐游戏宅”本人碰上了,聊起来怎么进去的,岂不是很尴尬?

截止定稿前,已经有220万网友来过编号152青眼白龙的竞拍界面吃瓜了,面对18000人的参与量,网友甚至开始给法院追责出谋划策:干脆在一个拘留所里让起哄抬价的参加一场真人游戏王决斗,每季度的胜者才能出狱。

然而看热闹是不嫌事大的,吃瓜归吃瓜,法院和刑事拍卖秩序被打破并不是一件好事,旁观者或许嬉笑,真正会被追究到法律责任的参与者,或许现在正在战战兢兢吧。


