文 | 游戏那点事 | 斯蒂芬
在昨天(1月8日),一家新的公司上海燊瞳智影成立了,值得注意的是,成立这家新公司的几位合伙人,均是在游戏行业颇有资历的大佬。
目前,在企查查上尚未更新持股情况,但几位股东均是出自游戏行业之人。

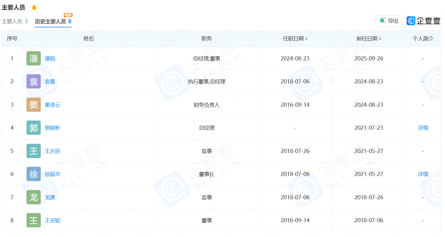
其中,徐振华是沐瞳的创始人;郭晓彬和窦凌云为《MLBB》元老,还有一位则是蜂果游戏的现任股东之一周全。其中,郭晓彬、窦凌云两人已于2025年11月退出MLBB原始公司上海沐龙。
从此次创业的情况来看,公司经营范围包括[技术开发]、[细胞技术研发和应用]、[物联网技术研发]、[第一类医疗器械销售]、[化妆品零售]、[专用化学产品销售]等,无直接游戏相关经营范围,或许这一次会是几位大佬的一次跨界创业。

一、几位大佬的结缘后,把沐瞳推到了海外第一梯队
关于徐振华的游戏行业经历,圈内人或多或少有所了解。2009年时,徐振华入职腾讯公司,加入腾讯游戏,负责网游开发运营,曾经是《植物大战僵尸online》《轩辕传奇》《部落守卫战》等多款知名游戏的主要研发负责人之一。
后来与他一同创立沐瞳的袁菁和张冠群和徐振华一样,都是腾讯的前员工。
2014年时,手游的风潮正在快速兴起,市场上充满了热钱,那时的市场对于想要创业的从业者来说相当有吸引力。在徐振华萌生了创业的想法之后,他首先便想到了在腾讯与自己共事多年的袁菁,在二人决定创业后,项目组内部也有不少同事愿意和徐振华一起出走。
据传关于离职一事,徐振华和袁菁曾和HR和Leader大致上达成了口头协议,不过后来二人还没等正式离职,就开始为创业做起了准备,而因为拿过股票期权,签过竞业协议,这也为后来被腾讯起诉埋下了雷。
2017年,腾讯将徐振华告上法庭,称徐振华违反竞业限制,在职期间开办公司,违反公司章程。2018年6月,终审败诉,徐振华被判赔偿腾讯1940万元。
在创立沐瞳后,最开始他们的团队更擅长SLG赛道,他们在成立第二年就推出了2款SLG产品,分别是《Magic Rush: Heroes》和《Magic wars》,发行商为前股东智明星通,上线后在全球市场有不错的表现。
后来,沐瞳将视角转向了MOBA品类,但是在国内腾讯已经快把这个赛道给占完了,于是沐瞳便转向了海外的真空地带。
后来,徐振华从完美世界找来了郭晓彬,据说二人在以前曾当过同事,而郭晓彬在能力上正好弥补了沐瞳欠缺的MOBA开发经验,毕竟郭晓彬的团队曾在14年为完美开发过一款名叫《第三把剑》的页游MOBA,的确有这方面的经验积累,是沐瞳急需的人才。
(新公司的三人都曾是沐瞳的核心成员)
在徐振华的邀请下,郭晓彬便接受了沐瞳投资,带队离开完美世界,成立了上海沐龙,与沐瞳一起开始《MLBB》的制作。
最终的结果我们也知道了,《MLBB》上线后,逐步在海外吃下了大量的市场份额,电竞赛事也是办的风生水起,一度有东南亚国民级手游的说法,如今这款产品依然是海外最受欢迎的MOBA手游之一。
2021年,围绕着沐瞳,游戏圈发生了一起大事件,或许是看上了沐瞳在海外多年的深耕经验以及产品影响力,彼时在游戏板块寻求扩张的字节跳动看中了沐瞳,并成功收入麾下。
后来,徐振华先一步从沐瞳卸任,2025年11月,郭晓彬和窦凌云两位《MLBB》元老离开了上海沐龙。这一次创业,或许是几位行业老兵跳出游戏之外的一次新尝试。


